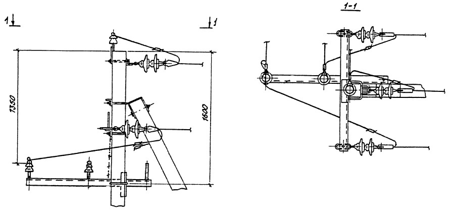
Устройство ответвления УОК от концевой опоры (типовой проект 3.407.1-143.2.15)

Арт.: uok_a10-2_1_3.407.1-143.2
Под заказ
от
8900
р.
Устройство ответвления УОК для установки на концевых опорах предназначено для организации отвода проводов от основной линии к потребителю. Некоторые области применения: городские и сельские электросети — обеспечивают подключение отдельных домов, улиц или небольших населённых пунктов к магистральной сети, промышленные объекты — служат для подключения отдельных цехов, зданий или оборудования к заводской подстанции, временные линии электропередач используются при строительстве, проведении ремонтных работ или организации временного электроснабжения мероприятий.
  • Описание
  • Характеристики
  • Преимущества

Устройство ответвления УОК предназначено для применения в I-III ветровых районах и I-II районах по гололёду в ненаселённых и населённых местностях.

В районах повышенной опасности гибели крупных птиц на опорах ВЛ 10 кВ рекомендуется применять устройства защиты от птиц (в комплектацию устройства ответвления не входят - подбираются и приобретаются отдельно).

Стоимость устройства ответвления УОК сильно зависит от количества опор в заказе, места доставки опор, применяемых комплектующих и типа применяемого антикоррозийного покрытия. Поэтому актуальная стоимость каждого устройства ответвления подлежит обязательному уточнению с учётом ваших конкретных условий поставки!


Состав устройства ответвления:

- Траверса ТМ-2

- Хомут Х-42

- Проводник ЗП-1

- Изолятор ШФ-20В ГОСТ 22863-77

- Колпачок К-6 ГОСТ 18380-80

- Крепление провода

- Зажимы

Производитель
ООО "ЮШЕ-Электро"
Технические условия
ТУ 23.61.12-002-87381870-2021
Страна производства
Российская Федерация
Гарантия
12 месяцев
Статус
Под заказ
Типовой проект
3.407.1-143.2
Тип опоры
Устройство ответвления

✅ Оперативный расчёт большинства популярных опор ЛЭП;

✅ Комплектация опор в соответствии с типовыми проектами, которые разрабатывались в СССР целыми конструкторскими бюро и институтами электроэнергетики;

✅ Предоставление технического паспорта на каждую марку изготовленных нами опор ЛЭП;

✅ Предоставление сертификата соответствия на опору ЛЭП в полном комплекте (то есть на всё изделие в целом), что позволит проще и быстрее произвести сдачу линии электропередачи заказчику и контролирующим организациям.

Популярные товары

Менеджер
Елизавета
Секретарь-референт
Консультация специалиста
Мы обязательно свяжемся с вами!
Менеджер
Елизавета
Секретарь-референт
Оставить заявку
Мы обязательно свяжемся с вами!
Менеджер
Елизавета
Секретарь-референт
Заказать расчет
Мы обязательно свяжемся с вами!